異種金属と亜鉛めっき面が接触すると?
投稿日:2025年08月18日
異種金属、例えば亜鉛と銅が電解液中で電気的に接触すると電池を形成し、イオン化傾向の大きい方の金属(この場合は亜鉛)が溶解することは良く知られています。
大気中における亜鉛は、表面に緻密な酸化皮膜を生成しているため、異種金属と接触しても、電解液中における程急速には溶解しませんが、暴露される環境によっては接触部近傍の腐食速度が早くなります。特に酸性雨の多い地区や海塩粒子の飛来の多いところではこの傾向が強くなります。
以下に(社)日本溶融亜鉛鍍金協会で実施した「溶融亜鉛めっきと異種金属との接触」に関する10年間の暴露試験結果の概要を記します。
1. 異種金属の種類
1)裸鋼板(SS400)
2)ステンレス鋼板(SUS304)
3)アルミニウム板
4)真鍮板
5)ブランク(溶融亜鉛めっき)
2. 暴露期間
1988年~1998年(10年間)
3. 暴露場所
写真1 都市・工業地帯(横浜市鶴見区)
写真2 田園地帯(奈良県桜井市桜町)

写真1 暴露地(横浜)

写真2 暴露地(奈良)
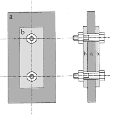
4. 試験片サイズ及び接合方法
図1に示すように、亜鉛めっき試験片をそれぞれの異種金属ではさみ、ボルト・ナットで締結して暴露しました。

試験片寸法
亜鉛めっき鋼板
200×100×3.2t
接合する異種金属
100×50×4.0t
(ただしSS400は3.2t)
a:亜鉛めっき鋼板
b:異種金属
5. 試験結果
異種金属との接合による亜鉛の腐食減量(3年目、5年目及び10年目)を測定した結果を表1に示します。またこの結果から10年間平均の腐食量をグラフ化したものを図2に示します。
表1 異種金属との接合による腐食減量
| 暴露場所 | 異種金属の種類 | 各暴露期間の全腐食量(g/m2) | 年平均腐食量 (g/m2・年) | ||
|---|---|---|---|---|---|
| 横浜 | 裸鋼板 | 27.7 | 57.4 | 119.1 | 11.9 |
| ステンレス鋼板 | 19.7 | 38.6 | 104.8 | 10.5 | |
| アルミニウム板 | 20.5 | 34.8 | 89.8 | 9.0 | |
| 真鍮板 | 19.2 | 39.9 | 106.0 | 10.6 | |
| ブランク | 17.9 | 40.4 | 94.6 | 9.5 | |
| 奈良 | 裸鋼板 | 12.5 | 19.8 | 38.0 | 3.8 |
| ステンレス鋼板 | 9.2 | 15.1 | 33.3 | 3.3 | |
| アルミニウム板 | 9.6 | 14.8 | 32.5 | 3.3 | |
| 真鍮板 | 9.2 | 15.1 | 31.6 | 3.2 | |
| ブランク | 6.5 | 12.2 | 27.2 | 2.7 | |
図2 異種金属と接触した亜鉛めっき鋼板の年平均腐食減量

図2に見られるように、横浜、奈良ともにブランク(異種金属と接触していない亜鉛めっき鋼板)の腐食量が(アルミニウムを除き)最も少なくなっています。即ち、異種金属と接触することにより亜鉛の腐食速度が僅かながら増加することがわかります。試験片の外観からは、異種金属との接触部に近い部分が局部的に腐食しています。
以上のことから、亜鉛めっきとステンレスなどの異種金属との直接接触は避けるべきであり、やむを得ず接触する場合は、接触部近傍を有機塗料で塗装しておくことが望ましいといえます。なお、海外の文献としてはオーストラリア溶融亜鉛鍍金協会がBSのデータをまとめた資料もありますので、こちらもご参照下さい。
